Ф5
Характеристики изделия:
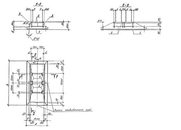
| Параметр | Значение |
|---|---|
| длина | 2400 мм |
| ширина | 4800 мм |
| высота | 800 мм |
| масса | 12800 кг |
| нормативный документ | Серия 0-122-84 |
Цена:
Рассчитать стоимостьФ5 Плиты фундаментные по Серии 0-122-84.
| Параметр | Значение |
|---|---|
| длина | 2400 мм |
| ширина | 4800 мм |
| высота | 800 мм |
| масса | 12800 кг |
| нормативный документ | Серия 0-122-84 |
Ф5 Плиты фундаментные по Серии 0-122-84.