СП 6-30

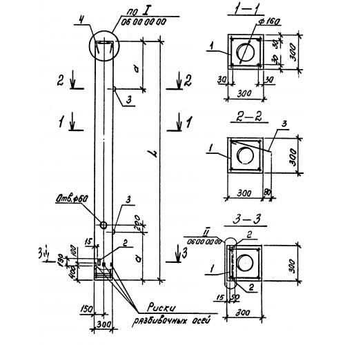
Чертеж изделия:
Характеристики изделия:
ПараметрЗначение
длина6000 мм
ширина300 мм
высота300 мм
масса1050 кг
нормативный документСерия 3.016.1-9

СП 6-30  Сваи-колонны полые квадратного сечения Серия 3.016.1-9.