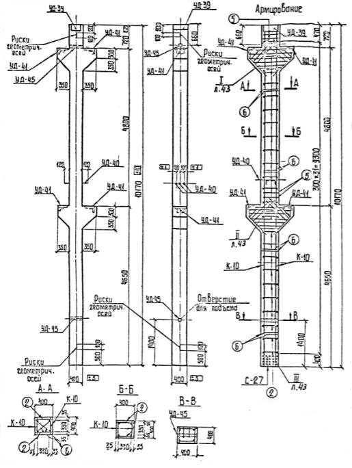
ТК 36 колонна
Характеристики изделия:
| Параметр | Значение |
|---|---|
| длина | 10170 мм |
| ширина | 400 мм |
| высота | 400 мм |
| масса | 4700 кг |
| нормативный документ | Серия 3.407-102 |
Цена:
Рассчитать стоимостьТК 36 Армированные бетонные колонны Серия 3.407-102.
| Параметр | Значение |
|---|---|
| длина | 10170 мм |
| ширина | 400 мм |
| высота | 400 мм |
| масса | 4700 кг |
| нормативный документ | Серия 3.407-102 |
ТК 36 Армированные бетонные колонны Серия 3.407-102.