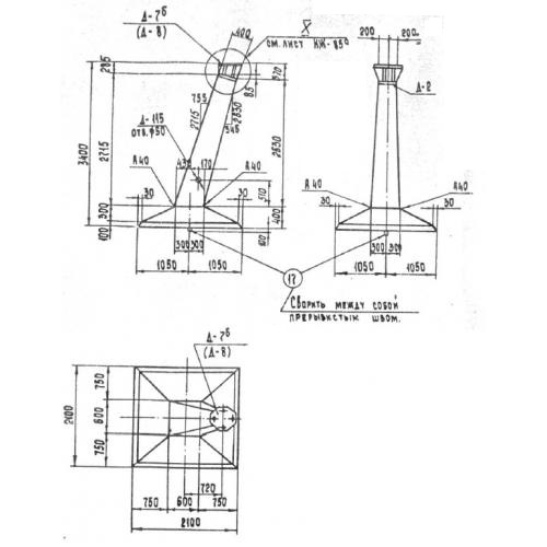
Ф 3 Фундаменты под анкерно-угловых опор

Чертеж изделия:
Характеристики изделия:
ПараметрЗначение
длина2100 мм
ширина2100 мм
высота3400 мм
масса4500 кг
нормативный документСерия 3.407-115

Ф 3 Фундаменты под анкерно-угловые опоры Серия 3.407-115.