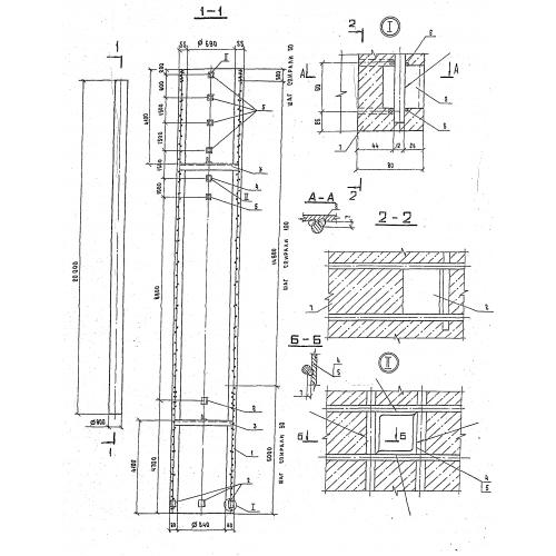
СЦ 20

Чертеж изделия:
Характеристики изделия:
ПараметрЗначение
длина20000 мм
ширина800 мм
высота800 мм
вес8482 кг
серия3.407.1-151

СЦ 20 Стойки цилиндрические по серии 3.407.1-151.