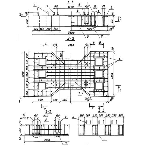
РС 2
Характеристики изделия:
| Параметр | Значение |
|---|---|
| длина | 3500 мм |
| ширина | 2050 мм |
| высота | 500 мм |
| вес | 6900 кг |
| серия | 3.501.1-153 |
Цена:
Рассчитать стоимостьРС 2 Ростверки свайные по серии 3.501.1-153.
| Параметр | Значение |
|---|---|
| длина | 3500 мм |
| ширина | 2050 мм |
| высота | 500 мм |
| вес | 6900 кг |
| серия | 3.501.1-153 |
РС 2 Ростверки свайные по серии 3.501.1-153.
