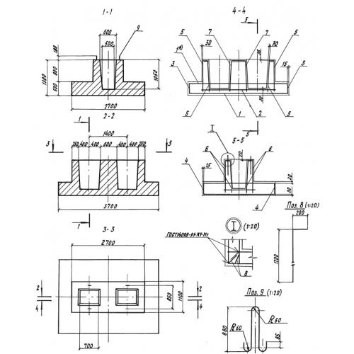
Ф 2 фундамент

Чертеж изделия:
Характеристики изделия:
ПараметрЗначение
длина3700 мм
ширина2700 мм
высота1300 мм
вес16300 кг
серия3.501.1-165

Ф 2 Фундаментные блоки по серии 3.501.1-165.