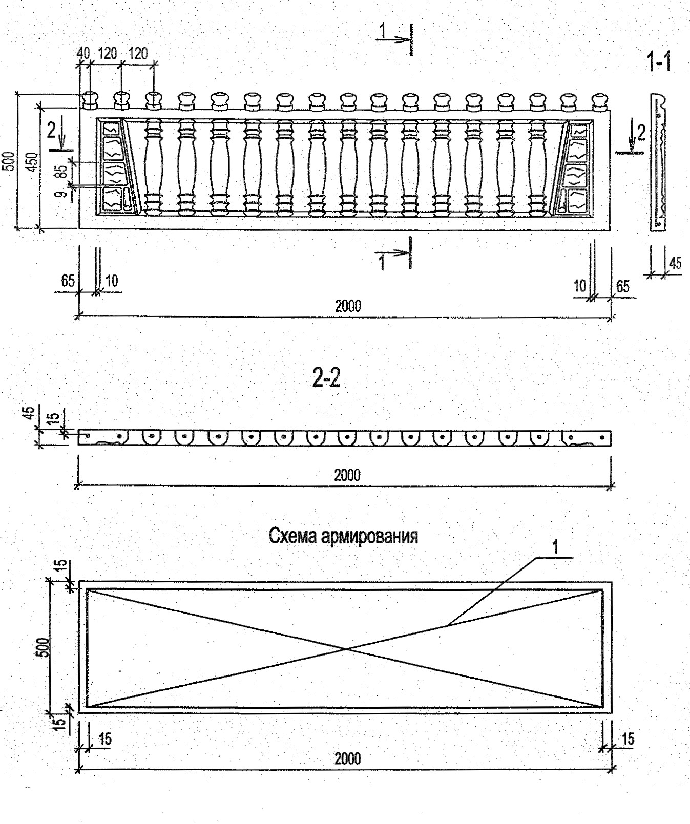
ПО 20.5.5-М-28

Чертеж изделия:
Характеристики изделия:
ПараметрЗначение
Длина L2000 мм
Ширина В45 мм
Высота Н500 мм
Вес50,6 кг
СерияБ3.017.1-7.05
Норма погрузки на машину (20тн)390 шт
Вагонная норма погрузки-

Панели ограждения железобетонные ПО 20.5.5-М-28 используются для ограждения территорий самого разного назначения. Изготовление заборов регламентируется серией Б3.017.1-7.05.