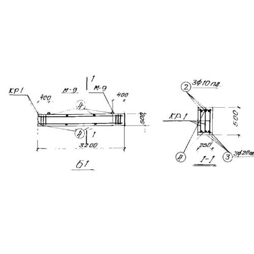
Б 1 балки

Чертеж изделия:
Характеристики изделия:
ПараметрЗначение
длина3200 мм
ширина250 мм
высота500 мм
масса1000 кг
нормативный документСерия ИС 01-04

Б 1 Бетонные армированные балки лотков каналов по Серии ИС 01-04.