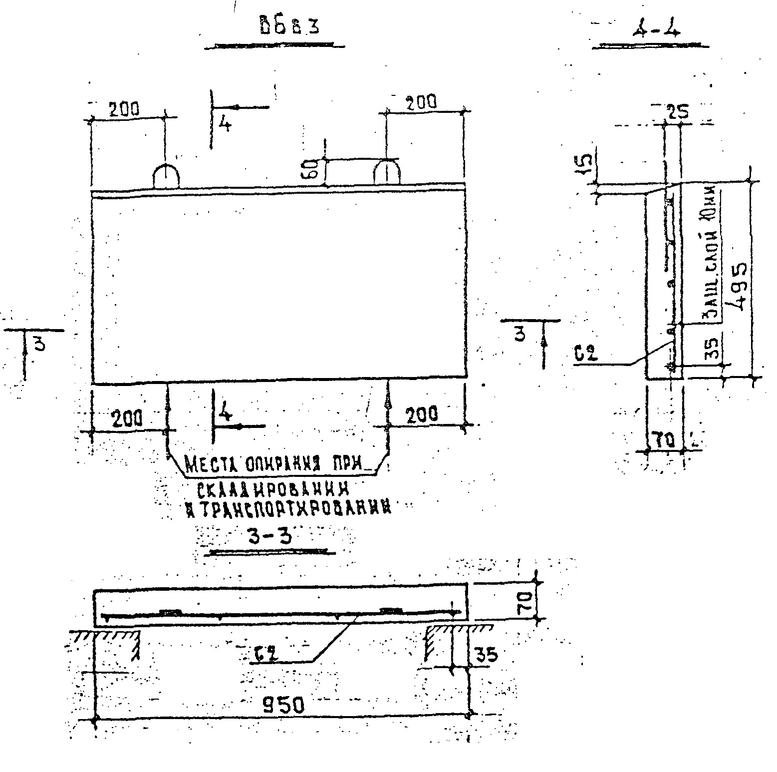
В 6 в3

Чертеж изделия:
Характеристики изделия:
ПараметрЗначение
Длина L950 мм
Ширина В495 мм
Высота Н70 мм
Вес81 кг
СерияИЖ 173-91
Норма погрузки на машину (20тн)246 шт
Вагонная норма погрузки-

Плита В6в3 изготовлена по чертежам альбома ИЖ 173-91. Предназначены плиты для перекрытия непроходных каналов. Плиты изготовлены из тяжелого бетона марки В15 (М200). «в3» в маркировке означает индекс армирования.